Как выбрать водонагреватель
Узнайте, как выбрать и установить водонагреватель у себя дома!
Существует 2 основных типа водонагревателей.

|
1 НАКОПИТЕЛЬНЫЕ Накопительный водонагреватель — это емкость, внутрь которой встроен нагревательный элемент. Вода в емкости нагревается до заданной температуры, а затем расходуется по мере необходимости. Когда в бак поступает холодная вода, автоматически включается ее подогрев. У накопительного водонагревателя большая емкость, и для его установки нужно достаточно места. Кроме того, прибор потребует надежного крепления на стене. Преимущества: ЭКОНОМИЧНОЕ ЭНЕРГОПОТРЕБЛЕНИЕ – не больше 3 кВт/ч (проточные потребляют от 3 до 27 кВт/ч) ВОЗМОЖНОСТЬ ПОДКЛЮЧИТЬ несколько водоразборных точек (кухонную мойку, душ, умывальник) СТАБИЛЬНЫЙ НАПОР И ТЕМПЕРАТУРА |

|
2 ПРОТОЧНЫЕ У проточного нагревателя есть теплообменник, при прохождении через который холодная водопроводная вода нагревается. Ждать, пока она нагреется, не нужно, но напор может быть ограничен скоростью подогрева. Например, если сделать слишком сильный напор, вода не будет успевать нагреваться до комфортной температуры. Преимущества: КОМПАКТНОЕ УСТРОЙСТВО, не нужно много места для установки БЫСТРЫЙ НАГРЕВ ВОДЫ ПРОСТОЕ ПОДКЛЮЧЕНИЕ И ИСПОЛЬЗОВАНИЕ |
| Как выбрать накопительный водонагреватель? |
|
ОБЪЕМ ВОДОНАГРЕВАТЕЛЯ |
| Выбор зависит от количества проживающих и количества одновременно используемых точек потребления горячего водоснабжения. |

|
ВНЕШНИЙ ВИД И ФОРМА |
| Накопительные водонагреватели бывают: |
| круглой (классическая) | суперузкой (для узких ниш) |
плоской формы |
|
|
|
| Водонагреватели могут иметь вертикальную или горизонтальную установку. |
|
| МАТЕРИАЛ ВНУТРЕННЕГО БАКА |
| Водонагреватели с нержавеющим внутренним баком – долговечны, устойчивы к коррозии и гидроударам. Эмалированные водонагреватели – дешевле, но с меньшим сроком гарантии. Покрытие эмалью физически изолирует сталь от контакта с водой. Оно способно выдерживать постоянные перепады температуры, не отслаиваясь, не растрескиваясь, не разрушаясь. |
|
| МОЩНОСТЬ |
| Мощность определяет, как быстро водонагреватель будет греть воду. Чем выше будет этот показатель, тем выше будет скорость нагрева воды. |
| ОСНОВНЫЕ ТРЕБОВАНИЯ ДЛЯ ПОДКЛЮЧЕНИЯ ВОДОНАГРЕВАТЕЛЕЙ |
|
|
||
|
||
|
||
|
||
|
||
|
||
|
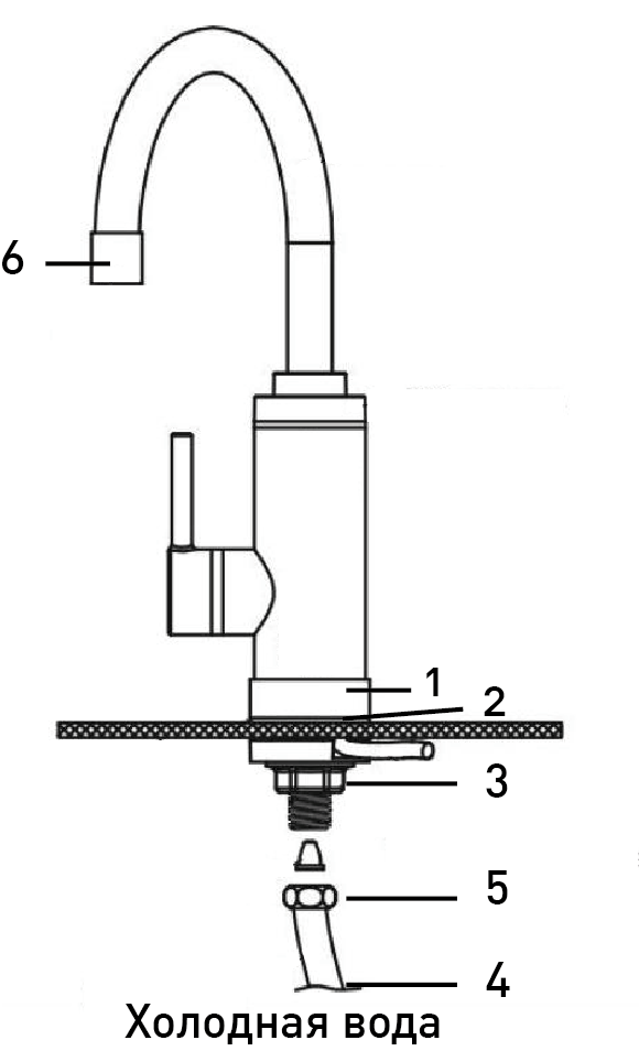
ПОДКЛЮЧЕНИЕ ПРОТОЧНОГО КРАН-ВОДОНАГРЕВАТЕЛЯ
В установочное отверстие на мойке вставьте кран-нагреватель, зафиксируйте гайкой. Водонагреватель должен стоять строго вертикально. Подключите патрубок входа холодной воды водонагревателя к трубе водоснабжения при помощи гибкой подводки необходимой длины. Гибкая подводка не входит в комплект.

|
1 Прижимное кольцо |
|
2 Прокладка |
|
3 Фиксирующая гайка |
|
4 Вход холодной воды |
|
5 Кран на входе холодной воды |
|
6 Выход воды из водонагревателя |
Откройте вентиль на кране холодного водоснабжения, чтобы из крана начала течь вода. Дождитесь, пока струя не станет ровной, без воздушных пузырей. Напор должен быть постоянным, стабильным. Проверьте, что подключение к водопроводу выполнено надежно, нигде нет протечек. Только после этого нагреватель включите в сеть.
|
|
|
|
|
|
|
|
|
|
|
|
|
|
ПОДКЛЮЧЕНИЕ НАКОПИТЕЛЬНОГО ВОДОНАГРЕВАТЕЛЯ

Монтаж. Прибор нужно крепить на надёжные стены, способные выдержать две массы наполненного водонагревателя. Устройство лучше установить рядом со стояком: чем короче подводка, тем больше напор. Рекомендуется устанавливать водонагреватель на расстоянии 20-25 см от потолка и стен, а также оставить 50 см для доступа к электрическим частям.
|
|
|
|
|
|
Присоединение к водопроводу.
|
|
|
|
|
|
|
|
|
|
Все соединения тщательно уплотните и герметизируйте.
Подключение к электросети.
|
|
|
|
|
|
Купить водонагреватель по выгодным ценам можно в нашем каталоге!

